Kanón Nexter ASCALON ráže 140 mm
Kanón Nexter ASCALON ráže 140 mm
Francouzský kanón ASCALON ráže 140 mm
Nedávno jsem si představili nový německý kanón L51 ráže 130 mm vyráběný společností Rheinmetall. Vývoj nových zbraní probíhá ale i ve Francii, kde pro vyvíjený tank MGCS (Main Ground Combat System) přišli s vlastním produktem. Nexter prosazuje koncept kanónu ASCALON (Autoloaded and SCALable Outperforming guN) ráže 140 mm, jehož palebná síla zaručí v příštích 50 letech zničení jakéhokoliv obrněného cíle. Nexter (dříve GIAT) má s kanóny ráže 140 mm více než bohaté zkušenosti, jelikož jej testovali již v 90. letech v rámci mezinárodního programu FTMA (Future Tank Main Armament) a na vlastním demonstrátoru Leclerc Terminateur s věží T-4 (předělaná zadní část věže tanku Leclerc). Na projektu FTMA se podílela Francie, Německo, Velká Británie a Spojené státy. Jako testovací platforma posloužil tank Leopard 2A4 s upravenou věží. Testování kanónu NPzK-140 v rámci programu FTMA potvrdilo až o 70 % větší úsťovou energii vůči standardnímu kanónu CN120-26 (L52) tanků Leclerc. Na začátku 90. let britská Royal Ordnance provedla celkově 120 testovacích výstřelů podkaliberní munice ráže 140 mm - ta vykazovala o 40 % větší penetrační účinky než podkaliberní munice ráže 120 mm. Od té doby ale vývoj pokročil. Průbojnost munice zásadně ovlivňuje nejen ráže, ale i konstrukce munice a také schopnost kanónu dlouhodobě snášet extrémní tlaky při výstřelu - při použití silnější prachové náplně v munici je možné dosáhnout větší úsťové rychlosti (energie) a tím zvýšit penetrační účinek v cíli. Nová zbraň je navržená s otevřenou architekturou tak, aby v rámci francouzsko-německého programu MGCS sloužila jako základ pro kooperativní rozvoj, a poskytla tak základy pro budoucí standardní evropské tankové zbraně a střelivo. Dle Nexteru lze vývoj ASCALONu dokončit do roku 2025. Pro ASCALON je také navrhována široká paleta nové munice, včetně řízených střel schopných ničit cíle ležící mimo linii přímé viditelnosti BLOS/NLOS (Beyond/Non Line Of Sight). Takto velká ráže umožní také konstrukci velmi účinné tříštivo-trhavé (HE) munice, jejíž účinek na cíl se zvýší až dvojnásobně. V případě podkaliberní munice ráže 140 mm se mluví o délce 1 300 mm. Velký důraz je kladen na zvládnutí zpětného rázu tak, aby se kanón dal umístit na pásová vozidla lehčí než 50 tun. Zpětný ráz a tlakové účinky palby na okolní pěchotu pomůže zvládnout speciální úsťová brzda. Tok plynů směrem dolů z úsťové brzdy ale může vytvořit oblak prachu, který znemožní pozorování. Celkově bude velice zajímavé sledovat, jakým směrem se bude ubírat výběr zbraně pro MGCS a vlastně bych se ani nedivil, pokud by byly zavedeny kanóny obou ráží.
Zdroj:
https://twitter.com/blueboy1969/status/ ... 68/photo/1
https://www.armadninoviny.cz/ascalon-ka ... -tank.html
http://www.opex360.com/2021/04/14/le-fr ... -du-futur/
https://defense-update.com/20210414_ascalon.html
https://www.defenseworld.net/news/29379 ... IV26aEzWUk
Naposledy upravil(a) Rase dne 18/7/2022, 17:40, celkem upraveno 2 x.

"Vojáci neměli rádi Rakouska ani války, ale dřeli do úpadu těla" - Karel Poláček
Re: Kanón Nexter ASCALON ráže 140 mm
Nexter Group momentálně testuje kanón ASCALON ráže 140 mm, na střelnici Alcochete (Campo de Tiro de Alcochete, CTA) v Portugalsku.
https://twitter.com/Defence360/status/1 ... 7961990144
https://twitter.com/Defence360/status/1 ... 7961990144
Naposledy upravil(a) Rase dne 20/6/2022, 19:35, celkem upraveno 1 x.

"Vojáci neměli rádi Rakouska ani války, ale dřeli do úpadu těla" - Karel Poláček
Re: Kanón Nexter ASCALON ráže 140 mm
Francouzsko-německá společnost KNDS představila na výstavě Eurosatory 2022 nový tankový kanón Ascalon ráže 140 mm.
https://defence24.com/industry/eurosato ... uture-mbts
https://defence24.com/industry/eurosato ... uture-mbts

"Vojáci neměli rádi Rakouska ani války, ale dřeli do úpadu těla" - Karel Poláček
Re: Kanón Nexter ASCALON ráže 140 mm
KNDS úspěšně testuje kanón Ascalon ráže 140 mm
KNDS aktivně pracuje na demonstraci vyspělosti 140 mm děla Ascalon a jeho munice. Poslední střelecké testování v květnu 2024 ukázalo vynikající schopnosti hlavní ráže 140 a 120 mm i vyspělost nábojů APFSDS (protipancéřová šípově stabilizovaná podkaliberní střela). Program Ascalon zahrnuje několik stovek střeleb ze 120 a 140 mm hlavní od května 2022 do prosince 2025. Na rok 2025 jsou naplánovány testy kanónu již usazeného ve věži. Ukázka KNDS zahrnovala střelbu ze 140 mm hlavně Ascalon s následnou rychlou výměnou za 120 mm hlaveň a pokračování ve palbě. Tyto testy ukazují možnost, kterou nabízí koncepce Ascalon, a to namontovat na jedinou lafetu jakoukoli hlaveň od 120 mm do 140 mm za méně než jednu hodinu. Takový inovativní koncept přináší výkonnostní úroveň, kterou současné technologie nenabízejí. Nabízí také významný potenciál růstu. Jako lídr v oblasti inovací kanónů a munice těžké ráže navrhla společnost KNDS systém Ascalon s otevřenou architekturou, který slouží jako základ pro společný vývoj platformy bojového kanónu v rámci francouzsko-německého programu MGCS, a položila tak základy budoucího standardu evropského tankového kanónu a munice.
https://www.armyweb.cz/clanek/knds-uspe ... zbran-mgcs
KNDS aktivně pracuje na demonstraci vyspělosti 140 mm děla Ascalon a jeho munice. Poslední střelecké testování v květnu 2024 ukázalo vynikající schopnosti hlavní ráže 140 a 120 mm i vyspělost nábojů APFSDS (protipancéřová šípově stabilizovaná podkaliberní střela). Program Ascalon zahrnuje několik stovek střeleb ze 120 a 140 mm hlavní od května 2022 do prosince 2025. Na rok 2025 jsou naplánovány testy kanónu již usazeného ve věži. Ukázka KNDS zahrnovala střelbu ze 140 mm hlavně Ascalon s následnou rychlou výměnou za 120 mm hlaveň a pokračování ve palbě. Tyto testy ukazují možnost, kterou nabízí koncepce Ascalon, a to namontovat na jedinou lafetu jakoukoli hlaveň od 120 mm do 140 mm za méně než jednu hodinu. Takový inovativní koncept přináší výkonnostní úroveň, kterou současné technologie nenabízejí. Nabízí také významný potenciál růstu. Jako lídr v oblasti inovací kanónů a munice těžké ráže navrhla společnost KNDS systém Ascalon s otevřenou architekturou, který slouží jako základ pro společný vývoj platformy bojového kanónu v rámci francouzsko-německého programu MGCS, a položila tak základy budoucího standardu evropského tankového kanónu a munice.
https://www.armyweb.cz/clanek/knds-uspe ... zbran-mgcs

"Vojáci neměli rádi Rakouska ani války, ale dřeli do úpadu těla" - Karel Poláček
Re: Kanón Nexter ASCALON ráže 140 mm
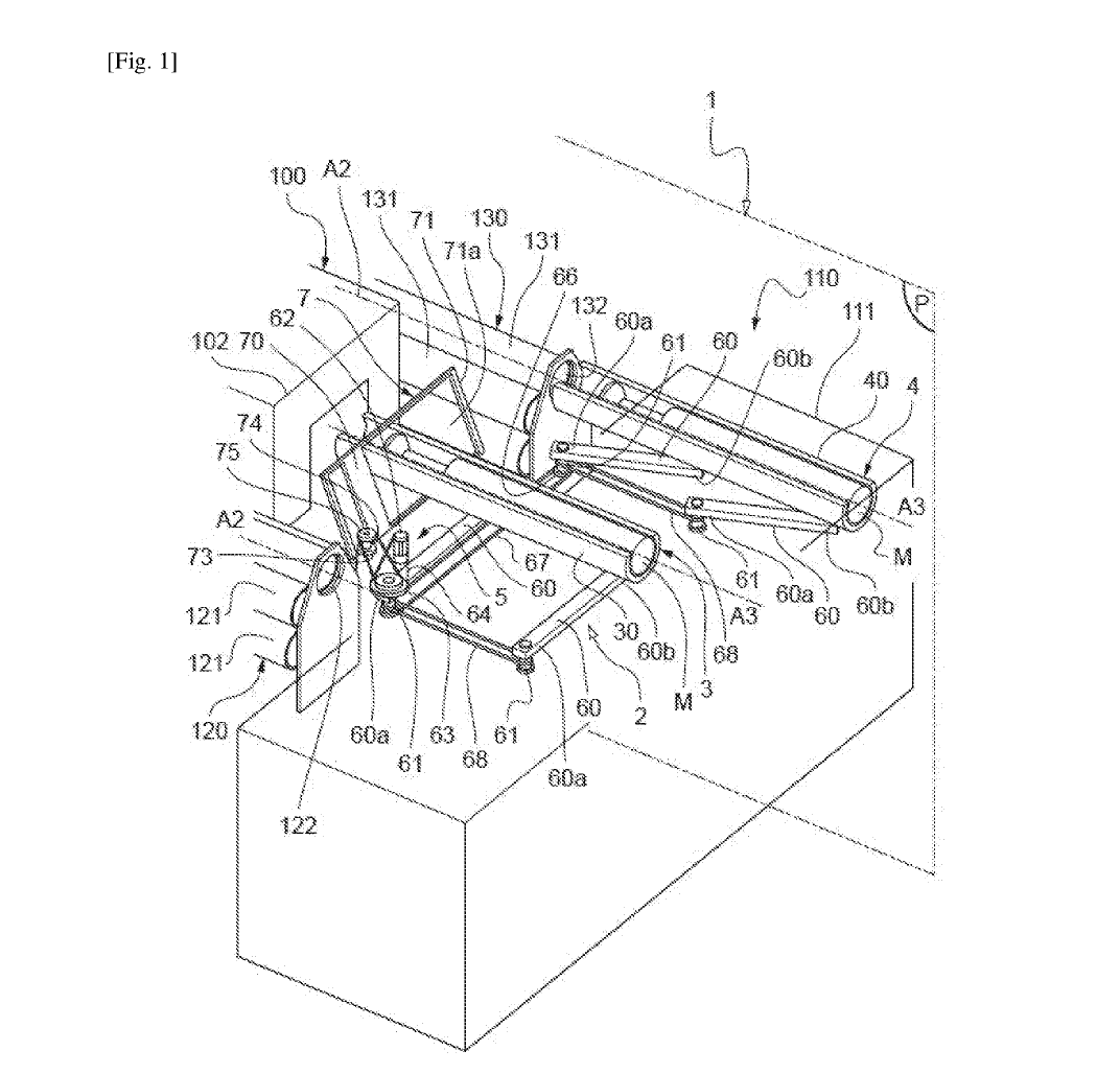
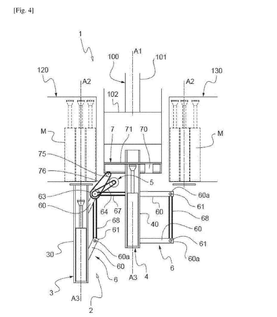
KNDS France (Nexter) nedávno zveřejnila patentovou přihlášku popisující automatické přebíjecí zařízení napájené dvěma zásobníky pro věž tanku s velkorážním kanónem (140 mm). Tento design byl pravděpodobně použit v demonstrátoru bezosádkové věže EMBT-ADT 140, který byl odhalen teprve letos. Patent pouze nastiňuje, jak nový autoloader funguje a nepředstavuje skutečnou aplikaci. KNDS France tvrdí, že věž ADT 140 nese 22 nábojů ráže 140 mm, takže lze logicky předpokládat, že na buben je 11 nábojů.

"Vojáci neměli rádi Rakouska ani války, ale dřeli do úpadu těla" - Karel Poláček
Re: Kanón Nexter ASCALON ráže 140 mm

"Vojáci neměli rádi Rakouska ani války, ale dřeli do úpadu těla" - Karel Poláček
